近日,由维科美拓(凯时游戏娱乐官网)设计的《一种液体在线水分仪》喜获国家实用新型专利,专利号为CN201821571005.X,并受到由中国国家知识产权局颁发的《实用新型专利证书》,意味着维科美拓在实用新型专利领域上得到认可,在新型专利方面受到更深一步的保护和综合竞争力得到进一步的提升。

专利证书是专利申请经审查合格,没有发现驳回理由,满足颁发授予专利权条件,由国务院专利行政部门(即国家知识产权局)作出授予专利权的决定,发给专利申请人的专利证书,是一种法律证明文件。
专利证书分为发明专利证书、实用新型专利证书以及外观设计专利证书。
实用新型专利是三种专利类型(发明、实用新型和外观设计)中的一种,实用新型是指对产品的形状、构造或者其结合所提出的适于实用的新的技术方案。专利法中对实用新型的创造性和技术水平要求较发明专利低,但实用价值大。
维科美拓通过常年的建立、运行与完善,有效提升了企业领导和员工知识版权意识,调动员工发明创造的积极性,使技术创新成果与知识产权紧密结合,增强企业核心竞争力。
未来,维科美拓将继续为客户提供优质的产品和服务,为中国分析仪器事业做出应有贡献,让检测更精准,让操作更简单,让用户更放心。
一种液体在线水分仪,所述的三通阀门的底端通过管道连接待测玻璃筒,所述的待测玻璃筒内的一侧壁上设有搅拌电机,所述的搅拌电机通过轴承连接辊轴,所述的辊轴上设有搅拌叶片,所述的搅拌电机的下方设有水分传感器,所述的调压阀、搅拌电机和水分传感器分别通过导线连接微处理控制器,所述的下机壳内腔的两侧壁上设有加热板I与加热板II,所述的加热板II的下方设有温度传感器;通过搅拌电机带动搅拌叶片可以使液体经过混合搅拌后的测量更加精准,同时还可以在清洗时通过搅拌使待测玻璃筒清洗的更加彻底,通过加热板I与加热板II便于观察液体在不同温度下的反应变化,使测量更加细致,保证结果的精准度,操作简单,清洗方便,适合推广使用。
1.一种液体在线水分仪,包括电控箱、进样管、三通阀门、调压阀、上机壳和下机壳,其特征是:所述的上机壳的内部设有进样管,所述的进样管的底端设有三通阀门,所述的三通阀门的一侧连接有调压阀,所述的三通阀门的底端通过管道连接待测玻璃筒,所述的待测玻璃筒内的一侧壁上设有搅拌电机,所述的搅拌电机通过轴承连接辊轴,所述的辊轴上设有搅拌叶片,所述的搅拌电机的下方设有水分传感器,所述的调压阀、搅拌电机和水分传感器分别通过导线连接微处理控制器,所述的待测玻璃筒位于下机壳的内部,所述的下机壳内腔的两侧壁上设有加热板I与加热板II,所述的加热板II的下方设有温度传感器,所述的加热板I、加热板II和温度传感器分别与微处理控制器电性连接。
2.根据权利要求1所述的一种液体在线水分仪,其特征是:所述的管道的一侧设有过渡管,所述的过渡管的上端设有清洗液进口管。
3.根据权利要求1所述的一种液体在线水分仪,其特征是:所述的待测玻璃筒的底端设有电动磁阀I和电动磁阀II,所述的电动磁阀I的底端设有废液出口,所述的电动磁阀II的底端设有清洗液出口。
4.根据权利要求3所述的一种液体在线水分仪,其特征是:所述的电动磁阀I与电动磁阀II分别通过导线与微处理控制器电性连接。
5.根据权利要求1所述的一种液体在线水分仪,其特征是:所述的电控箱上设有显示屏,且与微处理控制器电性连接。
6.根据权利要求1所述的一种液体在线水分仪,其特征是:所述的进样管与清洗液进口管的顶端各设有上盖。
7.根据权利要求1所述的一种液体在线水分仪,其特征是:所述的微处理控制器位于电控箱内。
一种液体在线水分仪
技术领域
本实用新型属于检测装置技术领域,具体涉及一种液体在线水分仪。
背景技术
在水中溶解的磷也有地质变化引起的,一般在人口密度高地区的河川及湖水中的磷浓度高,过多的氮、磷等营养物质进入湖泊、水库、海湾等水域,使水质污浊发臭,透明度下降,感观性状恶化,但是现有的水质分析仪的结构较为简单,缺少对水样进行混合搅拌的设备,导致水样中的杂质混合不均匀,从而影响水质分析仪的最后分析结果,具有一定的缺陷性,并且,现有的分析仪不具备清洗功能,使后期清洗非常麻烦,降低了工作效率。
发明内容
本实用新型的目的是为了克服上述现有技术存在的不足之处,本发明所要解决的技术问题是针对现有技术的状况,提供一种整体结构紧凑合理的一种液体在线水分仪。
本实用新型采用的技术方案为:该液体在线水分仪,包括电控箱、进样管、三通阀门、调压阀、上机壳和下机壳,所述的上机壳的内部设有进样管,所述的进样管的底端设有三通阀门,所述的三通阀门的一侧连接有调压阀,所述的三通阀门的底端通过管道连接待测玻璃筒,所述的待测玻璃筒内的一侧壁上设有搅拌电机,所述的搅拌电机通过轴承连接辊轴,所述的辊轴上设有搅拌叶片,所述的搅拌电机的下方设有水分传感器,所述的调压阀、搅拌电机和水分传感器分别通过导线连接微处理控制器,所述的待测玻璃筒位于下机壳的内部,所述的下机壳内腔的两侧壁上设有加热板I与加热板II,所述的加热板II的下方设有温度传感器,所述的加热板I、加热板II和温度传感器分别与微处理控制器电性连接。
所述的管道的一侧设有过渡管,所述的过渡管的上端设有清洗液进口管。
所述的待测玻璃筒的底端设有电动磁阀I和电动磁阀II,所述的电动磁阀I的底端设有废液出口,所述的电动磁阀II的底端设有清洗液出口。
所述的电动磁阀I与电动磁阀II分别通过导线与微处理控制器电性连接。
所述的电控箱上设有显示屏,且与微处理控制器电性连接。
所述的废液出口与清洗液出口的底端各设有手动阀门。
所述的进样管与清洗液进口管的顶端各设有上盖。
所述的微处理控制器位于电控箱内。
本实用新型的有益效果是:通过搅拌电机带动搅拌叶片可以使液体经过混合搅拌后的测量更加精准,同时还可以在清洗时通过搅拌使待测玻璃筒清洗的更加彻底,通过加热板I与加热板II便于观察液体在不同温度下的反应变化,使测量更加细致,保证结果的精准度,操作简单,清洗方便,适合推广使用。
附图说明
图1是本实用新型结构示意图。
图2是本实用新型的电路结构示意图。
具体实施方式
附图仅用于示例性说明,不能理解为对本专利的限制;为了更好说明本实施例,附图某些部件会有省略、放大或缩小,并不代表实际产品的尺寸;对于本领域技术人员来说,附图中某些公知结构及其说明可能省略是可以理解的。
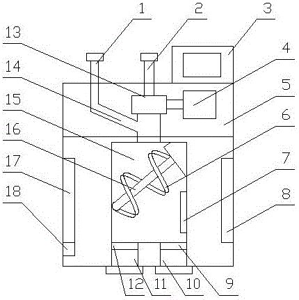
参照附图,该液体在线水分仪,包括电控箱3、进样管2、三通阀门13、调压阀4、上机壳5和下机壳,所述的上机壳5的内部设有进样管2,所述的进样管2的底端设有三通阀门13,所述的三通阀门13的一侧连接有调压阀4,所述的三通阀门13的底端通过管道连接待测玻璃筒15,所述的待测玻璃筒15内的一侧壁上设有搅拌电机,所述的搅拌电机通过轴承连接辊轴16,所述的辊轴16上设有搅拌叶片6,所述的搅拌电机的下方设有水分传感器7,所述的调压阀4、搅拌电机和水分传感器7分别通过导线连接微处理控制器,所述的待测玻璃筒15位于下机壳的内部,所述的下机壳内腔的两侧壁上设有加热板I8与加热板II17,所述的加热板II17的下方设有温度传感器18,所述的加热板I8、加热板II17和温度传感器18分别与微处理控制器电性连接。
所述的管道的一侧设有过渡管14,所述的过渡管14的上端设有清洗液进口管1。
所述的待测玻璃筒15的底端设有电动磁阀I9和电动磁阀II12,所述的电动磁阀I9的底端设有废液出口10,所述的电动磁阀II12的底端设有清洗液出口11。
所述的电动磁阀I9与电动磁阀II12分别通过导线与微处理控制器电性连接。
所述的电控箱3上设有显示屏,且与微处理控制器电性连接。
所述的废液出口10与清洗液出口11的底端各设有手动阀门。
所述的进样管2与清洗液进口管1的顶端各设有上盖。
所述的微处理控制器位于电控箱3内。
具体实施过程如下:使用时,将液体通过进样管2倒入,通过调压阀4进行压力调节,液体通过管道进入待测玻璃筒15内,通过搅拌电机带动搅拌叶片6对液体进行搅拌,通过加热板I8和加热板II17进行加热,通过水分传感器7和温度传感器18进行感知并检测,通过微处理控制器后将数据传送到显示屏显示,清洗时,将清洗液通过清洗液进口管1倒入,通过搅拌电机带动搅拌叶片6对待测玻璃筒15进行清洗,测量完成后通过电动磁阀I9与电动磁阀II12将废液排出。
通过搅拌电机带动搅拌叶片6可以使液体经过混合搅拌后的测量更加精准,同时还可以在清洗时通过搅拌使待测玻璃筒15清洗的更加彻底,通过加热板I8与加热板II17便于观察液体在不同温度下的反应变化,使测量更加细致,保证结果的精准度,操作简单,清洗方便,适合推广使用。
对于所属领域的普通技术人员来说,在上述说明的基础上还可以做出其它不同形式的变化或变动。这里无需也无法对所有的实施方式予以穷举。凡在本实用新型的精神和原则之内所作的任何修改、等同替换和改进等,均应包含在本实用新型权利要求的保护范围之内。图中,描述位置关系仅用于示例性说明,不能理解为对本专利的限制;显然,本实用新型的上述实施例仅仅是为清楚地说明本实用新型所作的举例,而并非是对本实用新型的实施方式的限定。
您近期浏览过的产品