近日,由维科美拓(凯时游戏娱乐官网)设计的《一种便携式高频感应水分测定仪》喜获国家实用新型专利,专利号为 CN201620728183.3,并受到由中国国家知识产权局颁发的《实用新型专利证书》,意味着维科美拓在实用新型专利领域上得到认可,在新型专利方面受到更深一步的保护和综合竞争力得到进一步的提升。

专利证书是专利申请经审查合格,没有发现驳回理由,满足颁发授予专利权条件,由国务院专利行政部门(即国家知识产权局)作出授予专利权的决定,发给专利申请人的专利证书,是一种法律证明文件。
专利证书分为发明专利证书、实用新型专利证书以及外观设计专利证书。
实用新型专利是三种专利类型(发明、实用新型和外观设计)中的一种,实用新型是指对产品的形状、构造或者其结合所提出的适于实用的新的技术方案。专利法中对实用新型的创造性和技术水平要求较发明专利低,但实用价值大。
维科美拓通过常年的建立、运行与完善,有效提升了企业领导和员工知识版权意识,调动员工发明创造的积极性,使技术创新成果与知识产权紧密结合,增强企业核心竞争力。
未来,维科美拓将继续为客户提供优质的产品和服务,为中国分析仪器事业做出应有贡献,让检测更精准,让操作更简单,让用户更放心。
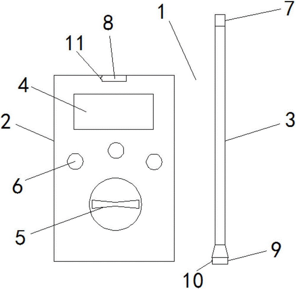
本实用新型公开了一种便携式高频感应水分测定仪,该测定仪包括机体、与该机体可拆卸连接的探针,该机体内设有电源及控制芯片,该机体表面设有与该控制芯片电连接的显示屏、与该控制芯片电连接的调节旋钮及调节按键,该探针端部设有在该探针插入该机体上时与该控制芯片电连接的水分探测传感器,该机体顶端设于供该探针插入连接的导电接头,该导电接头与该控制芯片及电源电连接,该探针上与该水分探测传感器相异的一端设有可插入至该导电接头内的导电插头。
1.一种便携式高频感应水分测定仪,其特征在于,所述测定仪包括机体、与所述机体可拆卸连接的探针,所述机体内设有电源及控制芯片,所述机体表面设有与所述控制芯片电连接的显示屏、与所述控制芯片电连接的调节旋钮及调节按键,所述探针端部设有在所述探针插入所述机体上时与所述控制芯片电连接的水分探测传感器,所述机体顶端设于供所述探针插入连接的导电接头,所述导电接头与所述控制芯片及电源电连接,所述探针上与所述水分探测传感器相异的一端设有可插入至所述导电接头内的导电插头。
2.根据权利要求1所述的便携式高频感应水分测定仪,其特征在于,所述导电插头侧壁表面设有弹性限位凸起,所述导电接头内设有供所述弹性限位凸起卡入的限位孔。
3.根据权利要求2所述的便携式高频感应水分测定仪,其特征在于,所述弹性限位凸起包括半球状凸起、以及设置于所述半球状凸起与所述导电插头之间的弹簧。
一种便携式高频感应水分测定仪
技术领域
[0001] 本实用新型涉及一种水分测定仪,更具体地说,涉及一种便携式高频感应水分测定仪。
背景技术
[0002] 现有的便携式水分测定仪通常将探针和主机固定连接,这就导致用户在携带该便携式水分测定仪时需要占用较大的携带空间,给用户携带造成不便。
实用新型内容
[0003] 本实用新型要解决的技术问题在于,针对现有技术的上述缺陷,提供一种便携式高频感应水分测定仪。
[0004] 本实用新型解决其技术问题所采用的技术方案是:构造一种便携式高频感应水分测定仪,该测定仪包括机体、与该机体可拆卸连接的探针,该机体内设有电源及控制芯片,该机体表面设有与该控制芯片电连接的显示屏、与该控制芯片电连接的调节旋钮及调节按键,该探针端部设有在该探针插入该机体上时与该控制芯片电连接的水分探测传感器,该机体顶端设于供该探针插入连接的导电接头,该导电接头与该控制芯片及电源电连接,该探针上与该水分探测传感器相异的一端设有可插入至该导电接头内的导电插头。
[0005] 在本实用新型所述的便携式高频感应水分测定仪中,该导电插头侧壁表面设有弹性限位凸起,该导电接头内设有供该弹性限位凸起卡入的限位孔。
[0006] 在本实用新型所述的便携式高频感应水分测定仪中,该弹性限位凸起包括半球状凸起、以及设置于该半球状凸起与该导电插头之间的弹簧。
[0007]实施本实用新型的便携式高频感应水分测定仪,具有以下有益效果:使用本实用新型的便携式高频感应水分测定仪时,可将探针通过导电插头插入至机体端部的导电接头内,实现探针与机体的导电连接,即可进行水分测定。在需要携带时,可将探针从机体上拆下,分别携带探针和机体,起到便于携带的效果。
附图说明
[0008]下面将结合附图及实施例对本实用新型作进一步说明,附图中:
[0009]图1是本实用新型便携式高频感应水分测定仪的结构示意图。
具体实施方式
[0010] 为使本实用新型的目的、技术方案和优点更加清楚,下面将结合附图对本实用新型实施方式作进一步地详细描述。
[0011]如图1所示,在本实用新型的便携式高频感应水分测定仪第一实施例中,该测定仪I包括机体2、与该机体2可拆卸连接的探针3,该机体2内设有电源及控制芯片,该机体2表面设有与该控制芯片电连接的显示屏4、与该控制芯片电连接的调节旋钮5及调节按键6,该探针3端部设有在该探针3插入该机体2上时与该控制芯片电连接的水分探测传感器7,该机体2顶端设于供该探针3插入连接的导电接头8,该导电接头8与该控制芯片及电源电连接,该探针3上与该水分探测传感器7相异的一端设有可插入至该导电接头8内的导电插头9。
[0012] 使用本实用新型的便携式高频感应水分测定仪I时,可将探针3通过导电插头9插入至机体2端部的导电接头8内,实现探针3与机体2的导电连接,即可进行水分测定。在需要携带时,可将探针3从机体2上拆下,分别携带探针3和机体2,起到便于携带的效果。
[0013] 进一步的,为防止使用过程中探针3从机体2上脱落,该导电插头9侧壁表面设有弹性限位凸起10,该导电接头8内设有供该弹性限位凸起10卡入的限位孔11。
[0014] 具体的,该弹性限位凸起10包括半球状凸起、以及设置于该半球状凸起与该导电插头9之间的弹簧。
[0015]以上所述仅为本实用新型的实施例,并非因此限制本实用新型的专利范围,凡是利用本实用新型说明书及附图内容所作的等效结构或等效流程变换,或直接或间接运用在其他相关的技术领域,均同理包括在本实用新型的专利保护范围内。
您近期浏览过的产品