近日,由维科美拓(凯时游戏娱乐官网)设计的《一种智能卡尔费休水分测定仪》喜获国家实用新型专利,专利号为CN201620728014.X ,并受到由中国国家知识产权局颁发的《实用新型专利证书》,意味着维科美拓在实用新型专利领域上得到认可,在新型专利方面受到更深一步的保护和综合竞争力得到进一步的提升。

专利证书是专利申请经审查合格,没有发现驳回理由,满足颁发授予专利权条件,由国务院专利行政部门(即国家知识产权局)作出授予专利权的决定,发给专利申请人的专利证书,是一种法律证明文件。
专利证书分为发明专利证书、实用新型专利证书以及外观设计专利证书。
实用新型专利是三种专利类型(发明、实用新型和外观设计)中的一种,实用新型是指对产品的形状、构造或者其结合所提出的适于实用的新的技术方案。专利法中对实用新型的创造性和技术水平要求较发明专利低,但实用价值大。
维科美拓通过常年的建立、运行与完善,有效提升了企业领导和员工知识版权意识,调动员工发明创造的积极性,使技术创新成果与知识产权紧密结合,增强企业核心竞争力。
未来,维科美拓将继续为客户提供优质的产品和服务,为中国分析仪器事业做出应有贡献,让检测更精准,让操作更简单,让用户更放心。
本实用新型公开了一种智能卡尔费休水分测定仪,该测定仪包括主机、设置于该主机第一侧边的固定座、以及设置于该主机第二侧边的控制器,该固定座包括矩形框体、设置于该矩形框体内中部的隔板、以及设置于该隔板上供试剂瓶固定插入的固定孔,该固定座内固设有卡尔费休试剂瓶、第一试剂瓶和第二试剂瓶,该固定孔包括供该卡尔费休试剂瓶固定插入的第一固定孔、供该第一试剂瓶固定插入的第二固定孔、供该第二试剂瓶固定插入的第三固定孔,该主机上装设有计量泵、三通阀、及反应瓶,该反应瓶上固设有从该反应瓶外插入至该反应瓶内的电极,该卡尔费休试剂瓶上设有与该三通阀的第一阀口连通的第一导管,该三通阀的第二阀口通过第二导管与该计量泵连通。
1.一种智能卡尔费休水分测定仪,其特征在于,所述测定仪包括主机、设置于所述主机 第一侧边的固定座、以及设置于所述主机第二侧边的控制器,所述固定座包括矩形框体、设 置于所述矩形框体内中部的隔板、以及设置于所述隔板上供试剂瓶固定插入的固定孔,所 述固定座内固设有卡尔费休试剂瓶、第一试剂瓶和第二试剂瓶,所述固定孔包括供所述卡 尔费休试剂瓶固定插入的第一固定孔、供所述第一试剂瓶固定插入的第二固定孔、供所述 第二试剂瓶固定插入的第三固定孔,所述主机上装设有计量栗、三通阀、及反应瓶,所述反 应瓶上固设有从所述反应瓶外插入至所述反应瓶内的电极,所述卡尔费休试剂瓶上设有与 所述三通阀的第一阀口连通的第一导管,所述三通阀的第二阀口通过第二导管与所述计量 栗连通,所述三通阀的第三阀口通过滴定导管与所述反应瓶连通,所述滴定导管第一端与 所述三通阀的第三阀口连通、所述滴定导管第二端与设置于所述反应瓶内的滴定头连通, 所述控制器内设有与所述三通阀、计量栗及电极电连接的控制芯片,所述控制器表面设有 显示屏以及设置于所述显示屏外表面的触控屏。
2.根据权利要求1所述的智能卡尔费休水分测定仪,其特征在于,所述卡尔费休试剂瓶 上设有第一干燥管。
3.根据权利要求1所述的智能卡尔费休水分测定仪,其特征在于,所述测定仪还包括废 液瓶,所述废液瓶与所述反应瓶通过第三导管连通。
4.根据权利要求1所述的智能卡尔费休水分测定仪,其特征在于,所述控制器内还设有 打印模块,所述控制器上还设有与所述打印模块电连接的打印接头。
一种智能卡尔费休水分测定仪
技术领域
[0001] 本实用新型涉及一种水分测定仪,更具体地说,涉及一种智能卡尔费休水分测定仪。背景技术
[0002] 现有的水分测定仪需要用户手动操作,不够智能化,且测试效率低,给用户测试带来一定的不便,且试剂瓶没有固定,容易摔落。实用新型内容
[0003] 本实用新型要解决的技术问题在于,针对现有技术的上述缺陷,提供一种智能卡尔费休水分测定仪。
[0004] 本实用新型解决其技术问题所采用的技术方案是:构造一种智能卡尔费休水分测定仪,该测定仪包括主机、设置于该主机第一侧边的固定座、以及设置于该主机第二侧边的控制器,该固定座包括矩形框体、设置于该矩形框体内中部的隔板、以及设置于该隔板上供试剂瓶固定插入的固定孔,该固定座内固设有卡尔费休试剂瓶、第一试剂瓶和第二试剂瓶, 该固定孔包括供该卡尔费休试剂瓶固定插入的第一固定孔、供该第一试剂瓶固定插入的第二固定孔、供该第二试剂瓶固定插入的第三固定孔,该主机上装设有计量栗、三通阀、及反应瓶,该反应瓶上固设有从该反应瓶外插入至该反应瓶内的电极,该卡尔费休试剂瓶上设有与该三通阀的第一阀口连通的第一导管,该三通阀的第二阀口通过第二导管与该计量栗连通,该三通阀的第三阀口通过滴定导管与该反应瓶连通,该滴定导管第一端与该三通阀的第三阀口连通、该滴定导管第二端与设置于该反应瓶内的滴定头连通,该控制器内设有与该三通阀、计量栗及电极电连接的控制芯片,该控制器表面设有显示屏以及设置于该显示屏外表面的触控屏。
[0005] 在本实用新型所述的智能卡尔费休水分测定仪中,该卡尔费休试剂瓶上设有第一干燥管。
[0006] 在本实用新型所述的智能卡尔费休水分测定仪中,该测定仪还包括废液瓶,该废液瓶与该反应瓶通过第三导管连通。
[0007] 在本实用新型所述的智能卡尔费休水分测定仪中,该控制器内还设有打印模块, 该控制器上还设有与该打印模块电连接的打印接头。
[0008] 实施本实用新型的智能卡尔费休水分测定仪,具有以下有益效果:通过控制器内的控制芯片智能化控制整个水分测定过程,通过电极输出信号经控制芯片系统进行判断, 实现连接-快速-慢速-终点的滴定过程,结果可通过控制器上的显示屏进行显示。同时用户可在触控屏上输入触控信号,并对测试过程进行控制。同时,通过固定座对试剂瓶进行统一固定,防止试剂瓶摔落。附图说明
[0009]下面将结合附图及实施例对本实用新型作进一步说明,附图中:[〇〇1〇]图1是本实用新型智能卡尔费休水分测定仪的结构示意图。具体实施方式
[0011] 为使本实用新型的目的、技术方案和优点更加清楚,下面将结合附图对本实用新型实施方式作进一步地详细描述。
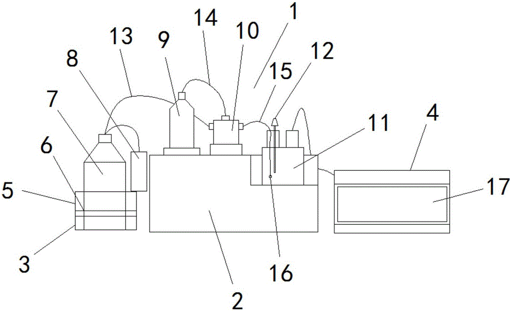
[0012] 如图1所示,在本实用新型的智能卡尔费休水分测定仪第一实施例中,该测定仪1 包括主机2、设置于该主机2第一侧边的固定座3、以及设置于该主机2第二侧边的控制器4, 该固定座3包括矩形框体5、设置于该矩形框体5内中部的隔板6、以及设置于该隔板6上供试剂瓶固定插入的固定孔,该固定座3内固设有卡尔费休试剂瓶7、第一试剂瓶和第二试剂瓶, 该固定孔包括供该卡尔费休试剂瓶7固定插入的第一固定孔、供该第一试剂瓶固定插入的第二固定孔、供该第二试剂瓶固定插入的第三固定孔,该主机2上装设有计量栗9、三通阀 1 〇、及反应瓶11,该反应瓶11上固设有从该反应瓶11外插入至该反应瓶11内的电极12,该卡尔费休试剂瓶7上设有与该三通阀10的第一阀口连通的第一导管13,该三通阀10的第二阀口通过第二导管14与该计量栗9连通,该三通阀10的第三阀口通过滴定导管15与该反应瓶 11连通,该滴定导管15第一端与该三通阀10的第三阀口连通、该滴定导管15第二端与设置于该反应瓶11内的滴定头16连通,该控制器4内设有与该三通阀10、计量栗9及电极12电连接的控制芯片,该控制器4表面设有显示屏17以及设置于该显示屏17外表面的触控屏。
[0013] 通过控制器4内的控制芯片智能化控制整个水分测定过程,通过电极12输出信号经控制芯片系统进行判断,实现连接-快速-慢速-终点的滴定过程,结果可通过控制器4上的显示屏17进行显示。同时用户可在触控屏上输入触控信号,并对测试过程进行控制。同时,通过固定座3对试剂瓶进行统一固定,防止试剂瓶摔落。
[0014] 进一步的,该卡尔费休试剂瓶7上设有第一干燥管8。[〇〇15] 进一步的,该测定仪1还包括废液瓶,该废液瓶与该反应瓶11通过第三导管连通。
[0016] 进一步的,该控制器4内还设有打印模块,该控制器4上还设有与该打印模块电连接的打印接头。
[0017] 以上所述仅为本实用新型的实施例,并非因此限制本实用新型的专利范围,凡是利用本实用新型说明书及附图内容所作的等效结构或等效流程变换,或直接或间接运用在其他相关的技术领域,均同理包括在本实用新型的专利保护范围内。
您近期浏览过的产品