近日,由维科美拓(凯时游戏娱乐官网)设计的《一种卤素水分仪样品可视化检测器》喜获国家实用新型专利,专利号为CN201821718177.5,并受到由中国国家知识产权局颁发的《实用新型专利证书》,意味着维科美拓在实用新型专利领域上得到认可,在新型专利方面受到更深一步的保护和综合竞争力得到进一步的提升。

专利证书是专利申请经审查合格,没有发现驳回理由,满足颁发授予专利权条件,由国务院专利行政部门(即国家知识产权局)作出授予专利权的决定,发给专利申请人的专利证书,是一种法律证明文件。
专利证书分为发明专利证书、实用新型专利证书以及外观设计专利证书。
实用新型专利是三种专利类型(发明、实用新型和外观设计)中的一种,实用新型是指对产品的形状、构造或者其结合所提出的适于实用的新的技术方案。专利法中对实用新型的创造性和技术水平要求较发明专利低,但实用价值大。
维科美拓通过常年的建立、运行与完善,有效提升了企业领导和员工知识版权意识,调动员工发明创造的积极性,使技术创新成果与知识产权紧密结合,增强企业核心竞争力。
未来,维科美拓将继续为客户提供优质的产品和服务,为中国分析仪器事业做出应有贡献,让检测更精准,让操作更简单,让用户更放心。
一种卤素水分仪样品可视化检测器,所述的支座的一侧设有温度传感器,所述的支座的上端设有称重托盘,所述的称重托盘内设有压力传感器,所述的支座的左右两侧均设有加热板I与加热板II,所述的加热板I与加热板II的外侧板上各设有保护板I与保护板II,所述的保护板I与保护板II的上端设有支撑板,所述的支撑板的下端设有基板,所述的基板的下端通过导线连接有若干等距离的加热灯泡;通过加热板I、加热板II和加热灯泡对待测物体进行加热,缩短了检测加热的时间,并通过压力传感器可以感知待测物体在加热的过程中的重量变化以及最终的检测结果,通过可视窗可以观察检测的过程变化,使测量更加精准,节约人力资源,提高工作效率。
1.一种卤素水分仪样品可视化检测器,包括底座、上机盖和支座,其特征在于:所述的底座的上端设有支座,所述的支座的一侧设有温度传感器,所述的支座的上端设有称重托盘,所述的称重托盘内设有压力传感器,所述的支座的左右两侧均设有加热板I与加热板II,所述的加热板I与加热板II的外侧板上各设有保护板I与保护板II,所述的保护板I与保护板II的上端设有支撑板,所述的支撑板的下端设有基板,所述的基板的下端通过导线连接有若干等距离的加热灯泡,所述的温度传感器、压力传感器、加热板I、加热板II与基板分别通过导线连接中央处理器,所述的中央处理器位于电控箱内。
2.根据权利要求1所述的一种卤素水分仪样品可视化检测器,其特征在于:所述的电控箱上设有显示屏,所述的显示屏通过导线与中央处理器电性连接。
3.根据权利要求1所述的一种卤素水分仪样品可视化检测器,其特征在于:所述的底座的上端的两侧均设有固定卡座,所述的固定卡座上设有上机壳。
4.根据权利要求1所述的一种卤素水分仪样品可视化检测器,其特征在于:所述的电控箱位于底座内。
5.根据权利要求1所述的一种卤素水分仪样品可视化检测器,其特征在于:所述的上机壳的前后两个面为可视窗结构。
一种卤素水分仪样品可视化检测器
技术领域
本实用新型涉及水分仪技术领域,具体涉及一种卤素水分仪样品可视化检测器。
背景技术
传统的水分测定一般时采用烘箱干燥法,一个样品的测试需要两三个甚至三四个小时,而且还需要通过天平称重、人工计算,才能得出样品的水分值,测定效率低,传统的水分测定仪为全封闭式,不能观察检测的过程和产品的变化,不够适应高节奏的企业生产需要。
发明内容
本实用新型的目的是为了克服上述现有技术存在的不足之处,本发明所要解决的技术问题是针对现有技术的状况,提供一种整体结构紧凑合理的一种食品添加剂加工装置。
本实用新型采用的技术方案为:该卤素水分仪样品可视化检测器,包括底座、上机盖和支座,所述的底座的上端设有支座,所述的支座的一侧设有温度传感器,所述的支座的上端设有称重托盘,所述的称重托盘内设有压力传感器,所述的支座的左右两侧均设有加热板I与加热板II,所述的加热板I与加热板II的外侧板上各设有保护板I与保护板II,所述的保护板I与保护板II的上端设有支撑板,所述的支撑板的下端设有基板,所述的基板的下端通过导线连接有若干等距离的加热灯泡,所述的温度传感器、压力传感器、加热板I、加热板II与基板分别通过导线连接中央处理器,所述的中央处理器位于电控箱内。
所述的电控箱上设有显示屏,所述的显示屏通过导线与中央处理器电性连接。
所述的底座的上端的两侧均设有固定卡座,所述的固定卡座上设有上机壳。
所述的电控箱位于底座内。
所述的上机壳的前后两个面为可视窗结构。
本实用新型的有益效果是:通过加热板I、加热板II和加热灯泡对待测物体进行加热,缩短了检测加热的时间,并通过压力传感器可以感知待测物体在加热的过程中的重量变化以及最终的检测结果,通过可视窗可以观察检测的过程变化,使测量更加精准,节约人力资源,提高工作效率。
附图说明
图1是本实用新型结构示意图。
具体实施方式
附图仅用于示例性说明,不能理解为对本专利的限制;为了更好说明本实施例,附图某些部件会有省略、放大或缩小,并不代表实际产品的尺寸;对于本领域技术人员来说,附图中某些公知结构及其说明可能省略是可以理解的。
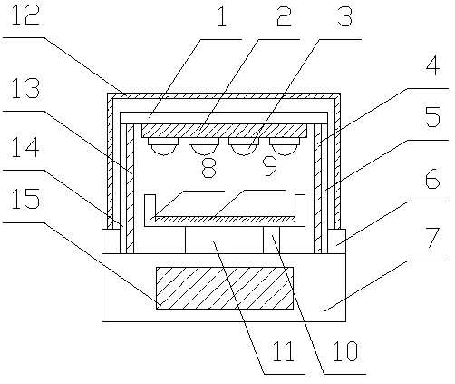
参照附图,该卤素水分仪样品可视化检测器,包括底座7、上机盖12和支座11,所述的底座7的上端设有支座11,所述的支座11的一侧设有温度传感器10,所述的支座11的上端设有称重托盘8,所述的称重托盘8内设有压力传感器9,所述的支座11的左右两侧均设有加热板I4与加热板II13,所述的加热板I4与加热板II13的外侧板上各设有保护板I5与保护板II14,所述的保护板I5与保护板II14的上端设有支撑板1,所述的支撑板1的下端设有基板2,所述的基板2的下端通过导线连接有若干等距离的加热灯泡3,所述的温度传感器10、压力传感器9、加热板I4、加热板II13与基板2分别通过导线连接中央处理器,所述的中央处理器位于电控箱内。
所述的电控箱上设有显示屏15,所述的显示屏15通过导线与中央处理器电性连接。
所述的底座7的上端的两侧均设有固定卡座6,所述的固定卡座6上设有上机壳。
所述的电控箱位于底座7内。
所述的上机壳的前后两个面为可视窗结构。
具体实施过程如下:使用时,通过显示屏15控制并观察数据值,将待测物体放置在称重托盘8上,闭合上机盖12,启动加热板I4、加热板II13和加热灯泡3对待测物体进行加热,通过温度传感器10进行温度检测,通过可视窗观察待测物体加热后的变化,并通过显示屏15观察压力传感器9的称重信息,操作简单,适合推广使用。
通过加热板I4、加热板II13和加热灯泡3对待测物体进行加热,缩短了检测加热的时间,并通过压力传感器9可以感知待测物体在加热的过程中的重量变化以及最终的检测结果,通过可视窗可以观察检测的过程变化,使测量更加精准,节约人力资源,提高工作效率。
对于所属领域的普通技术人员来说,在上述说明的基础上还可以做出其它不同形式的变化或变动。这里无需也无法对所有的实施方式予以穷举。凡在本实用新型的精神和原则之内所作的任何修改、等同替换和改进等,均应包含在本实用新型权利要求的保护范围之内。图中,描述位置关系仅用于示例性说明,不能理解为对本专利的限制;显然,本实用新型的上述实施例仅仅是为清楚地说明本实用新型所作的举例,而并非是对本实用新型的实施方式的限定。
您近期浏览过的产品