近日,由维科美拓(凯时游戏娱乐官网)设计的《一种可调式水分仪安装支架》喜获国家实用新型专利,专利号为CN201922391872.6,并受到由中国国家知识产权局颁发的《实用新型专利证书》,意味着维科美拓在实用新型专利领域上得到认可,在新型专利方面受到更深一步的保护和综合竞争力得到进一步的提升。

专利证书是专利申请经审查合格,没有发现驳回理由,满足颁发授予专利权条件,由国务院专利行政部门(即国家知识产权局)作出授予专利权的决定,发给专利申请人的专利证书,是一种法律证明文件。
专利证书分为发明专利证书、实用新型专利证书以及外观设计专利证书。
实用新型专利是三种专利类型(发明、实用新型和外观设计)中的一种,实用新型是指对产品的形状、构造或者其结合所提出的适于实用的新的技术方案。专利法中对实用新型的创造性和技术水平要求较发明专利低,但实用价值大。
维科美拓通过常年的建立、运行与完善,有效提升了企业领导和员工知识版权意识,调动员工发明创造的积极性,使技术创新成果与知识产权紧密结合,增强企业核心竞争力。
未来,维科美拓将继续为客户提供优质的产品和服务,为中国分析仪器事业做出应有贡献,让检测更精准,让操作更简单,让用户更放心。
一种可调式水分仪安装支架,包括壳体,壳体内设有收纳腔,收纳腔内设有升降架,升降架的一侧设有升降齿,升降架的另一侧设有隐藏槽,隐藏槽内通过轴与吊架相连,吊架上通过轴与支撑臂相连,支撑臂的另一端与隐藏槽相卡接,隐藏槽的内壁上设有定位卡槽;壳体内升降架的一端设有齿轮,齿轮与升降齿咬合,齿轮的齿轮轴轴矛连接杆相连,连接杆上插有定位摇把,定位摇把与壳体上的定位口相对应;壳体外套有定位架;本实用新型通过设有的升降架,实现了安装的高度的调节,通过定位架的设置,实现了整体的旋转角度的调节,使用灵活,调节方便,结构简单。
1.一种可调式水分仪安装支架,包括壳体,其特征在于:所述的壳体内设有收纳腔,所述的收纳腔内设有升降架,所述的升降架的一侧设有升降齿,所述的升降架的另一侧设有隐藏槽,所述的隐藏槽内通过轴与吊架相连,所述的吊架上通过轴与支撑臂相连,所述的支撑臂的另一端与隐藏槽相卡接,所述的隐藏槽的内壁上设有定位卡槽;所述的壳体内升降架的一端设有齿轮,所述的齿轮与升降齿咬合,所述的齿轮的齿轮轴与连接杆相连,所述的连接杆上插有定位摇把,所述的定位摇把与壳体上的定位口相对应;所述的壳体外套有定位架,所述的定位架与壳体之间设有平键,所述的定位架下方设有轴承,所述的轴承的内圈与壳体相连,所述的轴承的外圈固定在定位座上,所述的定位座固定在固定座上,所述的定位架上设有定位钉,所述的定位钉与定位座上的定位孔相对应。
2.根据权利要求1所述的一种可调式水分仪安装支架,其特征在于:所述的连接杆为 L型连接杆。
3.根据权利要求1所述的一种可调式水分仪安装支架,其特征在于:所述的定位孔环绕分布在定位座上。
一种可调式水分仪安装支架
技术领域
本实用新型涉及水分仪技术领域,具体涉及一种可调式水分仪安装支架。
背景技术
在线检测水分仪主要应用于需快速测定水分的行业,适合皮带传输物料时使用。在烟草加工行业制丝生产线烟叶或烟丝的含水率是最重要的一项工艺参数,在线测定和控制物料的含水率对于提高卷烟产品的内在质量具有重要影响,因此,水分测定仪在烟草加工行业制丝生产线应用尤为广泛。为保证含水率测定值的准确可靠,对水分仪的在线安装位置和安装精度要求较高,需根据设备布局及物料输送状况进行适时调整以达到最佳检测效果,目前使用的固定式水分仪安装支架难以适应更高的生产及工艺需求,无法调整对应角度和高度。
实用新型内容
本实用新型的目的是针对现有的技术存在的不足,提出了一种可调式水分仪安装支架,包括壳体,所述的壳体内设有收纳腔,所述的收纳腔内设有升降架,所述的升降架的一侧设有升降齿,所述的升降架的另一侧设有隐藏槽,所述的隐藏槽内通过轴与吊架相连,所述的吊架上通过轴与支撑臂相连,所述的支撑臂的另一端与隐藏槽相卡接,所述的隐藏槽的内壁上设有定位卡槽;所述的壳体内升降架的一端设有齿轮,所述的齿轮与升降齿咬合,所述的齿轮的齿轮轴与连接杆相连,所述的连接杆上插有定位摇把,所述的定位摇把与壳体上的定位口相对应;所述的壳体外套有定位架,所述的定位架与壳体之间设有平键,所述的定位架下方设有轴承,所述的轴承的内圈与壳体相连,所述的轴承的外圈固定在定位座上,所述的定位座固定在固定座上,所述的定位架上设有定位钉,所述的定位钉与定位座上的定位孔相对应。
所述的连接杆为 L型连接杆。
所述的定位孔环绕分布在定位座上。
本实用新型的有益效果为:提出了一种结构紧凑的一种可调式水分仪安装支架,本实用新型通过设有的升降架,实现了安装的高度的调节,通过定位架的设置,实现了整体的旋转角度的调节,通过设置的吊架,实现了安装角度的调节,实现了全方位,多角度的安装调节,本实用新型使用灵活,调节方便,结构简单。
附图说明
图1是本实用新型的结构示意图。
图2是本实用新型的收纳后的结构示意图。
图3是本实用新型的定位座的结构示意图。
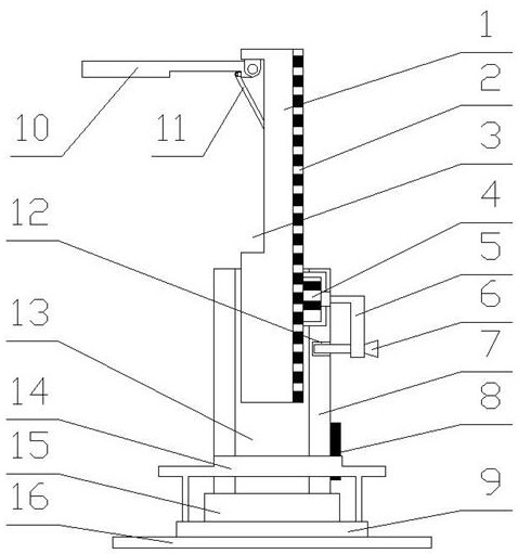
图中:1、升降架,2、升降齿,3、隐藏槽,4、齿轮,5、连接杆,6、定位摇把,7、壳体,8、平键,9、定位座,10、吊架,11、支撑臂,12、定位口,13、收纳腔,14、定位架,15、轴承,16、固定座,17、定位孔,18、定位钉。
具体实施方式
附图仅用于示例性说明,不能理解为对本专利的限制;为了更好说明本实施例,附图某些部件会有省略、放大或缩小,并不代表实际产品的尺寸;对于本领域技术人员来说,附图中某些公知结构及其说明可能省略是可以理解的。
实施例1,如图所示:一种可调式水分仪安装支架,包括壳体7,所述的壳体7内设有收纳腔13,所述的收纳腔13内设有升降架1,所述的升降架1的一侧设有升降齿2,所述的升降架1的另一侧设有隐藏槽3,所述的隐藏槽3内通过轴与吊架10相连,所述的吊架10上通过轴与支撑臂11相连,所述的支撑臂11的另一端与隐藏槽3相卡接,所述的隐藏槽3的内壁上设有定位卡槽;所述的壳体7内升降架1的一端设有齿轮4,所述的齿轮4与升降齿2咬合,所述的齿轮4的齿轮轴轴矛连接杆5相连,所述的连接杆5上插有定位摇把6,所述的定位摇把6与壳体7上的定位口12相对应;所述的壳体7外套有定位架14,所述的定位架14与壳体7之间设有平键8,所述的定位架14下方设有轴承15,所述的轴承15的内圈与壳体7相连,所述的轴承15的外圈固定在定位座9上,所述的定位座9固定在固定座16上,所述的定位架14上设有定位钉18,所述的定位钉18与定位座9上的定位孔17相对应。
实施例2, 一种可调式水分仪安装支架,所述的连接杆5为 L型连接杆5。所述的定位孔17环绕分布在定位座9上。通过定位孔17和定位钉18的设置,实现了壳体7的旋转角度调节后的固定。
在工作通过定位摇使将升降架1上升至指定高度后,通过将定位摇把6插在定位口12内,实现高度定位,将吊架10抬起后,当抬到指定高度后,通过支撑臂11卡在隐藏槽3内的卡槽内,实现安装角度定位,通过把持定位架14的周边将定位架14提起,并转动定位架14到指定位置,并落下定位架14,使定位架14上的定位钉18卡在定位孔17内,实现旋转角度定位,此时实现了全方位的角度调节,只需要将水分仪固定在吊架10上即可开始检测。
本实用新型提出了一种结构紧凑的一种可调式水分仪安装支架,通过设有的升降架1,实现了安装的高度的调节,通过定位架14的设置,实现了整体的旋转角度的调节,通过设置的吊架,实现了安装角度的调节,实现了全方位,多角度的安装调节,本实用新型使用灵活,调节方便,结构简单。
最后说明的是,选取上述实施例并对其进行了详细的说明和描述是为了更好的说明本发明专利的技术方案,并不是想要局限于所示的细节。本领域的技术人员对本发明的技术方案进行修改或同等替换,而不脱离本发明技术方案的宗旨和范围的,均应涵盖在本发明的权利要求范围当中。
您近期浏览过的产品