近日,由维科美拓(凯时游戏娱乐官网)设计的《一种双腔快速卤素水分仪》喜获国家实用新型专利,专利号为CN201922461118.5,并受到由中国国家知识产权局颁发的《实用新型专利证书》,意味着维科美拓在实用新型专利领域上得到认可,在新型专利方面受到更深一步的保护和综合竞争力得到进一步的提升。

专利证书是专利申请经审查合格,没有发现驳回理由,满足颁发授予专利权条件,由国务院专利行政部门(即国家知识产权局)作出授予专利权的决定,发给专利申请人的专利证书,是一种法律证明文件。
专利证书分为发明专利证书、实用新型专利证书以及外观设计专利证书。
实用新型专利是三种专利类型(发明、实用新型和外观设计)中的一种,实用新型是指对产品的形状、构造或者其结合所提出的适于实用的新的技术方案。专利法中对实用新型的创造性和技术水平要求较发明专利低,但实用价值大。
维科美拓通过常年的建立、运行与完善,有效提升了企业领导和员工知识版权意识,调动员工发明创造的积极性,使技术创新成果与知识产权紧密结合,增强企业核心竞争力。
未来,维科美拓将继续为客户提供优质的产品和服务,为中国分析仪器事业做出应有贡献,让检测更精准,让操作更简单,让用户更放心。
一种双腔快速卤素水分仪,包括壳体,壳体上通过合页与上盖相连,其特征在于:壳体内设有烘干腔和称量腔,称量腔内设有称量托架,称量托架与壳体内部的称量机构相连,称量腔相对应的上盖上设有阻挡钉;烘干腔内设有下卤素灯,下卤素灯上方设有拖网,拖网上设有称量盘,称量盘的底为钢网,烘干腔相对应的上盖内嵌有上卤素灯,上卤素灯与上盖相对应的位置处设有排热口,排热口上设有阻挡钉,烘干腔的外壁上设有不止一个散热口;烘干腔与称量腔之间的侧壁上设有推送口,称量腔与推送口相对应的另一侧侧壁上设有开口;本实用新型通过上卤素灯和下卤素灯的设置,提高了对样品的烘干速度和效果,实现了快速烘干。
1.一种双腔快速卤素水分仪,包括壳体,所述的壳体上通过合页与上盖相连,其特征在于:所述的壳体内设有烘干腔和称量腔,所述的称量腔内设有称量托架,所述的称量托架与壳体内部的称量机构相连,所述的称量腔相对应的上盖上设有阻挡钉;所述的烘干腔内设有下卤素灯,所述的下卤素灯上方设有拖网,所述的拖网上设有称量盘,所述的称量盘的底为钢网,所述的烘干腔相对应的上盖内嵌有上卤素灯,所述的上卤素灯与上盖相对应的位置处设有排热口,所述的排热口上设有阻挡钉,所述的烘干腔的外壁上设有不止一个散热口;所述的烘干腔与称量腔之间的侧壁上设有推送口,所述的称量腔与推送口相对应的另一侧侧壁上设有开口,所述的推送口和开口中设有推拉柄,所述的推拉柄通过推拉杆与弧形磁铁相连。
2.根据权利要求1所述的一种双腔快速卤素水分仪,其特征在于:所述的壳体上设有显示器,所述的显示器为触控显示器。
3.根据权利要求1所述的一种双腔快速卤素水分仪,其特征在于:所述的拖网嵌在烘干腔内壁上。
一种双腔快速卤素水分仪
技术领域
本实用新型涉及卤素水分仪技术领域,具体涉及一种双腔快速卤素水分仪。
背景技术
传统的水分测定一般时采用烘箱干燥法,一个样品的测试需要两三个甚至三四个小时,而且还需要通过天平称重、人工计算,才能得出样品的水分值,测定效率低,不够适应高节奏的企业生产需要。而卤素水分检测仪是一种新型快速的水分检测仪器。采用环形卤素灯加热,智能化操作。能快速均匀地干燥样品,获得准确的水分测定结果清晰的水分测定信息显示能实现直观、简单、方便地仪器操作,可广泛应用于一切需要快速测定水分的行业,满足各行业的应用要求,如塑胶、橡胶、化工、医药、食品、等行业中的生产过与实验过程中,但在实际使用过程中由于具体的操作过程使得测试时间长,无法快速取得检测结果。
实用新型内容
本实用新型的目的是针对现有的技术存在的不足,提出了一种双腔快速卤素水分仪,包括壳体,所述的壳体上通过合页与上盖相连,所述的壳体内设有烘干腔和称量腔,所述的称量腔内设有称量托架,所述的称量托架与壳体内部的称量机构相连,所述的称量腔相对应的上盖上设有阻挡钉;所述的烘干腔内设有下卤素灯,所述的下卤素灯上方设有拖网,所述的拖网上设有称量盘,所述的称量盘的底为钢网,所述的烘干腔相对应的上盖内嵌有上卤素灯,所述的上卤素灯与上盖相对应的位置处设有排热口,所述的排热口上设有阻挡钉,所述的烘干腔的外壁上设有不止一个散热口;所述的烘干腔与称量腔之间的侧壁上设有推送口,所述的称量腔与推送口相对应的另一侧侧壁上设有开口,所述的推送口和开口中设有推拉柄,所述的推拉柄通过推拉杆与弧形磁铁相连。
所述的壳体上设有显示器,所述的显示器为触控显示器。
所述的拖网嵌在烘干腔内壁上。
本实用新型的有益效果为:提出了一种结构紧凑的一种双腔快速卤素水分仪,具备以下有益效果:(1)、本实用新型通过上卤素灯和下卤素灯的设置,提高了对样品的烘干速度和效果,实现了快速烘干。
(2)、本实用新型通过将称量盘的底设置成钢网,使上卤素灯和下卤素灯均可对称量盘上的样品进行烘干,实现了快速烘干。
(3)、本实用新型通过弧形磁铁和阻挡钉的设置,可在样品烘干后不用手去取出,防止烫伤,并便于称量。
附图说明
图1是本实用新型的结构示意图。
图2是本实用新型的局部放大图。
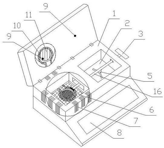
图中:1、壳体,2、称量腔,3、推拉柄,4、推送口,5、称量托架,6、烘干腔,7、散热口,8、显示器,9、阻挡钉,10、上卤素灯,11、排热口,12、下卤素灯,13、拖网,14、称量盘,15、钢网,16、推送杆,17、弧形磁铁。
具体实施方式
附图仅用于示例性说明,不能理解为对本专利的限制;为了更好说明本实施例,附图某些部件会有省略、放大或缩小,并不代表实际产品的尺寸;对于本领域技术人员来说,附图中某些公知结构及其说明可能省略是可以理解的。
实施例1,如图所示:一种双腔快速卤素水分仪,包括壳体1,所述的壳体1上通过合页与上盖相连,所述的壳体1内设有烘干腔6和称量腔2,所述的称量腔2内设有称量托架5,所述的称量托架5与壳体1内部的称量机构相连,所述的称量腔2相对应的上盖上设有阻挡钉9;所述的烘干腔6内设有下卤素灯12,所述的下卤素灯12上方设有拖网13,所述的拖网13上设有称量盘14,所述的称量盘14的底为钢网15,所述的烘干腔6相对应的上盖内嵌有上卤素灯10,所述的上卤素灯10与上盖相对应的位置处设有排热口11,所述的排热口11上设有阻挡钉9,所述的烘干腔6的外壁上设有不止一个散热口7;所述的烘干腔6与称量腔2之间的侧壁上设有推送口4,所述的称量腔2与推送口4相对应的另一侧侧壁上设有开口,所述的推送口4和开口中设有推拉柄3,所述的推拉柄3通过推送杆16与弧形磁铁17相连。
实施例2, 一种双腔快速卤素水分仪,所述的壳体1上设有显示器8,所述的显示器8为触控显示器8。所述的拖网13嵌在烘干腔6内壁上。通过设置的拖网13可以将称量盘14设在其上,从而实现了上卤素灯10和下卤素灯12对称量盘14中的检测样本的烘干。
在检测时,先接通电源,再将样品放置在称量盘14上,关闭上盖后通过显示器8进行控制使上卤素灯10和下卤素灯12对样品进行烘干,当烘干完成后,开启上盖后,通过推送杆16前端的弧形磁铁17对称量盘14进行吸引,使称量盘14被吸在弧形磁铁17上,再通过拖拽推拉柄3使称量盘14穿过推送口4移动到称量托架5上,盖上上盖,通过上盖上的阻挡钉9使称量盘14从弧形磁铁17上脱落到称量托架5上,此时开始称量,即可通过本实用新型中的控制板在显示器8上显示出检测结果,控制板等控制装置均为卤素水分仪上常见的装置。
本实用新型提出了一种结构紧凑的一种双腔快速卤素水分仪,通过上卤素灯10和下卤素灯12的设置,提高了对样品的烘干速度和效果,实现了快速烘干。通过将称量盘14的底设置成钢网15,使上卤素灯10和下卤素灯12均可对称量盘14上的样品进行烘干,实现了快速烘干。通过弧形磁铁17和阻挡钉9的设置,可在样品烘干后不用手去取出,防止烫伤,并便于称量。
最后说明的是,选取上述实施例并对其进行了详细的说明和描述是为了更好的说明本发明专利的技术方案,并不是想要局限于所示的细节。本领域的技术人员对本发明的技术方案进行修改或同等替换,而不脱离本发明技术方案的宗旨和范围的,均应涵盖在本发明的权利要求范围当中。
您近期浏览过的产品