近日,由维科美拓(凯时游戏娱乐官网)设计的《一种卤素水分快速测定仪》喜获国家实用新型专利,专利号为CN201922417100.5,并受到由中国国家知识产权局颁发的《实用新型专利证书》,意味着维科美拓在实用新型专利领域上得到认可,在新型专利方面受到更深一步的保护和综合竞争力得到进一步的提升。

专利证书是专利申请经审查合格,没有发现驳回理由,满足颁发授予专利权条件,由国务院专利行政部门(即国家知识产权局)作出授予专利权的决定,发给专利申请人的专利证书,是一种法律证明文件。
专利证书分为发明专利证书、实用新型专利证书以及外观设计专利证书。
实用新型专利是三种专利类型(发明、实用新型和外观设计)中的一种,实用新型是指对产品的形状、构造或者其结合所提出的适于实用的新的技术方案。专利法中对实用新型的创造性和技术水平要求较发明专利低,但实用价值大。
维科美拓通过常年的建立、运行与完善,有效提升了企业领导和员工知识版权意识,调动员工发明创造的积极性,使技术创新成果与知识产权紧密结合,增强企业核心竞争力。
未来,维科美拓将继续为客户提供优质的产品和服务,为中国分析仪器事业做出应有贡献,让检测更精准,让操作更简单,让用户更放心。
一种卤素水分快速测定仪,包括移动轮,底座上设有控制面板、主开关、拎手和主箱体,主箱体上设有进风口,上盖体上设有出风口和弹开按钮,出风口连接排风机,红外主箱连接远红外灯,隔断下方设有量杯,称量传感器连接主电板,电路板连接主开关和控制面板,本实用新型通过风带走热量,因此可以维持称量传感器的温度的相对稳定,同时缩短了样品加热干燥时间,且样品不须粉碎或混合处理,故不会产生脚料,红外主箱连接远红外灯能使样品内部发热,把其内的水分排于样品表面,并通过吸风机和排风机产生的风对流将水汽带走并提高美观性。
1.一种卤素水分快速测定仪,包括移动轮,其特征在于:所述的移动轮安装在底座下方,所述的底座上设有控制面板、主开关、拎手和主箱体,所述的主箱体上设有进风口,所述的主箱体通过折页连接上盖体,所述的上盖体上设有出风口和弹开按钮,所述的弹开按钮连接弹开开关,所述的出风口连接排风机,所述的排风机一侧设有红外主箱,所述的红外主箱连接远红外灯,所述的远红外灯安装在隔断上,所述的隔断下方设有量杯,所述的量杯下方设有称量传感器,所述的称量传感器连接主电板,所述的主电板上设有电路板和CPU处理器,所述的电路板连接主开关和控制面板。
2.根据权利要求1所述的一种卤素水分快速测定仪,其特征在于:所述的进风口连接吸风机,所述的吸风机安装在主箱内。
3.根据权利要求1所述的一种卤素水分快速测定仪,其特征在于:所述的移动轮设置为四个,且所述的移动轮安装在底座的下方四角处。
4.根据权利要求1所述的一种卤素水分快速测定仪,其特征在于:所述的隔断上设有排气孔,且所述的排气孔设置为多个,且均匀的分布在隔断上。
5.根据权利要求1所述的一种卤素水分快速测定仪,其特征在于:所述的红外主箱连接远红外灯,且所述的远红外灯设置为两个,且所述的远红外灯安装在量杯的上方。
6.根据权利要求1所述的一种卤素水分快速测定仪,其特征在于:所述的控制面板上设有显示器和控制按钮,且所述的显示器设置为液晶触模式显示器,所述的控制按钮设置为多个,且所述的控制按钮电控吸风机、排风机红外主箱、称量传感器和CPU处理器。
一种卤素水分快速测定仪
技术领域
本实用新型涉及水分测量仪器技术领域,具体涉及一种卤素水分快速测定仪。
背景技术
加热型电子水分仪的工作原理是对被测物进行加热,然后利用称量加热前以及加热后的重量来得到被测物的水分含量。而称量传感器对于温度的变化都是相当敏感的,因此加热型电子水分仪的使用中,由于加热时温度的变化会引起称量传感器发生称量结果的偏差,且现有的产品普遍需要将待测量样品粉碎或混合处理,产生大量的脚料和废料。
实用新型内容
本实用新型的目的是针对现有的技术存在的不足,一种卤素水分快速测定仪。
一种卤素水分快速测定仪,包括移动轮,所述的移动轮安装在底座下方,所述的底座上设有控制面板、主开关、拎手和主箱体,所述的主箱体上设有进风口,所述的主箱体通过折页连接上盖体,所述的上盖体上设有出风口和弹开按钮,所述的弹开按钮连接弹开开关,所述的出风口连接排风机,所述的排风机一侧设有红外主箱,所述的红外主箱连接远红外灯,所述的远红外灯安装在隔断上,所述的隔断下方设有量杯,所述的量杯下方设有称量传感器,所述的称量传感器连接主电板,所述的主电板上设有电路板和CPU处理器,所述的电路板连接主开关和控制面板。
所述的进风口连接吸风机,所述的吸风机安装在主箱内。
所述的移动轮设置为四个,且所述的移动轮安装在底座的下方四角处。
所述的隔断上设有排气孔,且所述的排气孔设置为多个,且均匀的分布在隔断上。
所述的红外主箱连接远红外灯,且所述的远红外灯设置为两个,且所述的远红外灯安装在量杯的上方。
所述的控制面板上设有显示器和控制按钮,且所述的显示器设置为液晶触模式显示器,所述的控制按钮设置为多个,且所述的控制按钮电控吸风机、排风机红外主箱、称量传感器和CPU处理器。
本实用新型的有益效果为:提出了一种结构紧凑的一种卤素水分快速测定仪,本实用新型通过风带走热量,因此可以维持称量传感器的温度的相对稳定,同时缩短了样品加热干燥时间,且样品不须粉碎或混合处理,故不会产生脚料,红外主箱连接远红外灯能使样品内部发热,把其内的水分排于样品表面,并通过吸风机和排风机产生的风对流将水汽带走并提高美观性。
附图说明
图1是本实用新型的整体结构示意图。
图2是本实用新型的内部结构示意图。
具体实施方式
附图仅用于示例性说明,不能理解为对本专利的限制;为了更好说明本实施例,附图某些部件会有省略、放大或缩小,并不代表实际产品的尺寸;对于本领域技术人员来说,附图中某些公知结构及其说明可能省略是可以理解的。
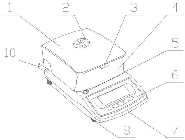
实施例1,如图所示:一种卤素水分快速测定仪,包括移动轮8,所述的移动轮8安装在底座7下方,所述的底座7上设有控制面板6、主开关5、拎手10和主箱体4,所述的主箱体4上设有进风口19,所述的主箱体4通过折页连接上盖体1,所述的上盖体1上设有出风口2和弹开按钮,所述的弹开按钮连接弹开开关3,所述的出风口2连接排风机9,所述的排风机9一侧设有红外主箱11,所述的红外主箱11连接远红外灯,所述的远红外灯安装在隔断上,所述的隔断下方设有量杯16,所述的量杯16下方设有称量传感器17,所述的称量传感器17连接主电板14,所述的主电板14上设有电路板13和CPU处理器15,所述的电路板13连接主开关5和控制面板6。
所述的进风口19连接吸风机18,所述的吸风机18安装在主箱内。
所述的移动轮8设置为四个,且所述的移动轮8安装在底座7的下方四角处。
所述的隔断上设有排气孔12,且所述的排气孔12设置为多个,且均匀的分布在隔断上。
所述的红外主箱11连接远红外灯,且所述的远红外灯设置为两个,且所述的远红外灯安装在量杯16的上方。
所述的控制面板6上设有显示器和控制按钮,且所述的显示器设置为液晶触模式显示器,所述的控制按钮设置为多个,且所述的控制按钮电控吸风机18、排风机9红外主箱11、称量传感器17和CPU处理器15。
一种卤素水分快速测定仪,本实用新型在使用时需校对测量,待校对测量完成后,打开弹开开关3,将主箱体4内的量杯16加入待测样品,关闭上盖体1,给本实用新型供电,打开主开关5,通过触摸式显示器将样品种类选定,通过控制面板6上控制按钮调节,打开吸风机18、排风机9、红外主箱11等开关,本实用新型会通过CPU处理器15制动控制测量时间,量杯16下方的称重传感器,会实时显示量杯16的重量并记录,待本实用新型停止工作时,会将放入时的重量和烘干完的重量输入给CPU处理器15,并通过换算在触摸显示器上显示出样品的含水量。
一种卤素水分快速测定仪,本实用新型通过风带走热量,因此可以维持称量传感器17的温度的相对稳定,同时缩短了样品加热干燥时间,且样品不须粉碎或混合处理,故不会产生脚料,红外主箱11连接远红外灯能使样品内部发热,把其内的水分排于样品表面,并通过吸风机18和排风机9产生的风对流将水汽带走并提高美观性。
最后说明的是,选取上述实施例并对其进行了详细的说明和描述是为了更好的说明本发明专利的技术方案,并不是想要局限于所示的细节。本领域的技术人员对本发明的技术方案进行修改或同等替换,而不脱离本发明技术方案的宗旨和范围的,均应涵盖在本发明的权利要求范围当中。
您近期浏览过的产品