近日,由维科美拓(凯时游戏娱乐官网)设计的《一种可移动式红外水分仪》喜获国家实用新型专利,专利号为CN201922417079.9,并受到由中国国家知识产权局颁发的《实用新型专利证书》,意味着维科美拓在实用新型专利领域上得到认可,在新型专利方面受到更深一步的保护和综合竞争力得到进一步的提升。

专利证书是专利申请经审查合格,没有发现驳回理由,满足颁发授予专利权条件,由国务院专利行政部门(即国家知识产权局)作出授予专利权的决定,发给专利申请人的专利证书,是一种法律证明文件。
专利证书分为发明专利证书、实用新型专利证书以及外观设计专利证书。
实用新型专利是三种专利类型(发明、实用新型和外观设计)中的一种,实用新型是指对产品的形状、构造或者其结合所提出的适于实用的新的技术方案。专利法中对实用新型的创造性和技术水平要求较发明专利低,但实用价值大。
维科美拓通过常年的建立、运行与完善,有效提升了企业领导和员工知识版权意识,调动员工发明创造的积极性,使技术创新成果与知识产权紧密结合,增强企业核心竞争力。
未来,维科美拓将继续为客户提供优质的产品和服务,为中国分析仪器事业做出应有贡献,让检测更精准,让操作更简单,让用户更放心。
一种可移动式红外水分仪,包括安装座,安装座内设有隐藏腔,隐藏腔的开口向下,安装座的下方设有支撑座,支撑座内设有升降齿轮,升降齿轮的中间穿有转动轴,转动轴与摇臂相连,摇臂上插有摇把,摇把的一端插在支撑座上的定位孔内,升降齿轮一侧设有升降杆,升降杆的侧壁上设有咬合齿,升降杆与升降齿轮相咬合,升降杆上方穿过支撑座插在安装座内的隐藏腔内,安装座和支撑座之间设有橡胶减震器;本实用新型通过橡胶缓冲垫的设置,避免在收回移动座时,由于力量过大对支撑座造成的震动,避免了对红外水分仪内部零部件的损伤。通过摇臂和摇把的设置,实现了手动控制,方便快捷,无需接通电源,效率高,维护成本低。
1.一种可移动式红外水分仪,包括安装座,其特征在于:安装座内设有隐藏腔,所述的隐藏腔的开口向下,所述的安装座的下方设有支撑座,所述的支撑座内设有升降齿轮,所述的升降齿轮的中间穿有转动轴,所述的转动轴与摇臂相连,所述的摇臂上插有摇把,所述的摇把的一端插在支撑座上的定位孔内,所述的升降齿轮一侧设有升降杆,所述的升降杆的侧壁上设有咬合齿,所述的升降杆与升降齿轮相咬合,所述的升降杆上方穿过支撑座插在安装座内的隐藏腔内,所述的安装座和支撑座之间设有橡胶减震器,且所述的安装座和支撑座通过连接螺栓连接,所述的升降杆下方穿过支撑座固定在移动座上,所述的移动座上设有橡胶缓冲垫,所述的移动座下方设有减震轮。
2.根据权利要求1所述的一种可移动式红外水分仪,其特征在于:所述的支撑座下方设有支腿,所述的支腿设有四个。
3.根据权利要求1所述的一种可移动式红外水分仪,其特征在于:所述的减震轮设有四个,所述的减震轮上设有轴承。
4.根据权利要求1所述的一种可移动式红外水分仪,其特征在于:所述的安装座为正方形,所述的支撑座为正方形,所述的移动座为正方形。
一种可移动式红外水分仪
技术领域
本实用新型涉及红外水分仪技术领域,具体涉及一种可移动式红外水分仪。
背景技术
红外水分仪适用于冶金、煤炭、化工、化纤、造纸、烟草、食品、建筑等多个行业,能对生产线上各个工艺点的水分值进快速准确测量,减少人工采样化验,有利于水分数据的实时采集、分析,并为生产工作起指导性作用。传统的红外水分仪在使用和移动过程中,碰撞震动会对红外水分仪的内部结构造成不可修复的损伤,十分不便,且安装后稳定性差。
实用新型内容
本实用新型的目的是针对现有的技术存在的不足,提出了一种可移动式红外水分仪,包括安装座,安装座内设有隐藏腔,所述的隐藏腔的开口向下,所述的安装座的下方设有支撑座,所述的支撑座内设有升降齿轮,所述的升降齿轮的中间穿有转动轴,所述的转动轴与摇臂相连,所述的摇臂上插有摇把,所述的摇把的一端插在支撑座上的定位孔内,所述的升降齿轮一侧设有升降杆,所述的升降杆的侧壁上设有咬合齿,所述的升降杆与升降齿轮相咬合,所述的升降杆上方穿过支撑座插在安装座内的隐藏腔内,所述的安装座和支撑座之间设有橡胶减震器,且所述的安装座和支撑座通过连接螺栓连接,所述的升降杆下方穿过支撑座固定在移动座上,所述的移动座上设有橡胶缓冲垫,所述的移动座下方设有减震轮。
所述的支撑座下方设有支腿,所述的支腿设有四个。
所述的减震轮设有四个,所述的减震轮上设有轴承。
所述的安装座为正方形,所述的支撑座为正方形,所述的移动座为正方形。
本实用新型的有益效果为:提出了一种结构紧凑的一种可移动式红外水分仪,具备以下有益效果:(1)、本实用新型通过设有橡胶减震器,减实现了对安装座上的红外水分仪被碰撞或晃动中对红外水分仪内部零部件的损伤,提高了红外水分仪的使用寿命。
(2)、本实用新型通过减震轮的设置,使红外水分仪在移动过程中可通过减震轮过滤掉地面不平产生的震动,避免对红外水分仪内部零部件的损伤。
(3)、本实用新型通过橡胶缓冲垫的设置,避免在收回移动座时,由于力量过大对支撑座造成的震动,避免了对红外水分仪内部零部件的损伤。
(4)、本实用新型通过摇臂和摇把的设置,实现了手动控制,方便快捷,无需接通电源,效率高,维护成本低。
附图说明
图1是本实用新型的结构示意图。
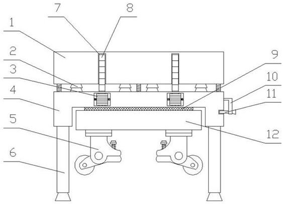
图中:1、安装座,2、橡胶减震器,3、升降齿轮,4、支撑座,5、减震轮,6、支腿,7、隐藏腔,8、升降杆,9、橡胶缓冲垫,10、摇臂,11、摇把,12、移动座。
具体实施方式
附图仅用于示例性说明,不能理解为对本专利的限制;为了更好说明本实施例,附图某些部件会有省略、放大或缩小,并不代表实际产品的尺寸;对于本领域技术人员来说,附图中某些公知结构及其说明可能省略是可以理解的。
实施例1,如图所示:一种可移动式红外水分仪,包括安装座1,安装座1内设有隐藏腔7,所述的隐藏腔7的开口向下,所述的安装座1的下方设有支撑座4,所述的支撑座4内设有升降齿轮3,所述的升降齿轮3的中间穿有转动轴,所述的转动轴与摇臂10相连,所述的摇臂10上插有摇把11,所述的摇把11的一端插在支撑座4上的定位孔内,所述的升降齿轮3一侧设有升降杆8,所述的升降杆8的侧壁上设有咬合齿,所述的升降杆8与升降齿轮3相咬合,所述的升降杆8上方穿过支撑座4插在安装座1内的隐藏腔7内,所述的安装座1和支撑座4之间设有橡胶减震器2,且所述的安装座1和支撑座4通过连接螺栓连接,所述的升降杆8下方穿过支撑座4固定在移动座12上,所述的移动座12上设有橡胶缓冲垫9,所述的移动座12下方设有减震轮5。
实施例2, 一种可移动式红外水分仪,所述的支撑座4下方设有支腿6,所述的支腿6设有四个。所述的减震轮5设有四个,所述的减震轮5上设有轴承。所述的安装座1为正方形,所述的支撑座4为正方形,所述的移动座12为正方形。通过将安装座1、支撑座4和移动做设置成正方形,提高了本实用新型在移动或固定过程中的稳定性。
在使用过程中,需要移动时将摇把11抽出即可通过摇臂10使升降齿轮3转动,升降齿轮3带动升降杆8实现下降,当移动座12下方的减震轮5落到地面后,继续摇动使支撑座4在升降杆8上继续上升,使支腿6离地,再通过将摇把11插回定位孔内,此时可以移动;当移动到指定位置需要固定时,将摇把11抽出,缓慢摇动,并使支撑座4下降,使移动座12上升,收回移动座12。
本实用新型提出了一种结构紧凑的一种可移动式红外水分仪,通过设有橡胶减震器2,减实现了对安装座1上的红外水分仪被碰撞或晃动中对红外水分仪内部零部件的损伤,提高了红外水分仪的使用寿命。通过减震轮5的设置,使红外水分仪在移动过程中可通过减震轮5过滤掉地面不平产生的震动,避免对红外水分仪内部零部件的损伤。通过橡胶缓冲垫9的设置,避免在收回移动座12时,由于力量过大对支撑座4造成的震动,避免了对红外水分仪内部零部件的损伤。通过摇臂10和摇把11的设置,实现了手动控制,方便快捷,无需接通电源,效率高,维护成本低。
最后说明的是,选取上述实施例并对其进行了详细的说明和描述是为了更好的说明本发明专利的技术方案,并不是想要局限于所示的细节。本领域的技术人员对本发明的技术方案进行修改或同等替换,而不脱离本发明技术方案的宗旨和范围的,均应涵盖在本发明的权利要求范围当中。
您近期浏览过的产品